EN

EN

PRODUCTS

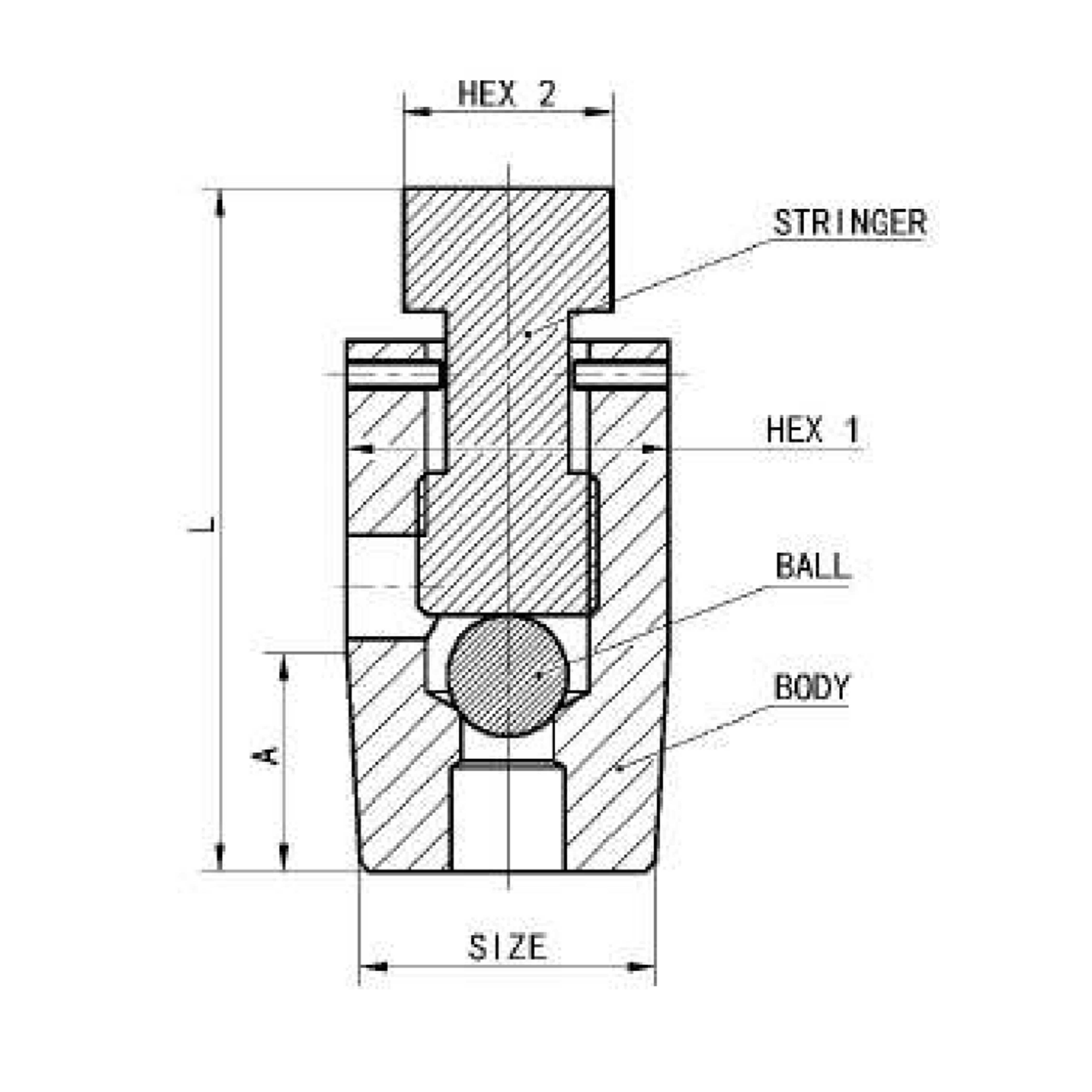
Bleeder

Product:

Bleeder

Description:

Consult Now

+86 0551-67291852

WhatsApp

Product Details

                                                                                                                                                                                                               Bleeder(图1)Bleeder.pdf

QQ20250526-090010.png